
TurMass™ 网关
TurMass™ 传感器
TurMass™ 语音
TurMass™ 模组
LoRaWAN网关
LoRaWAN传感器
4G/以太网传感器
Cat.1传感器
NB-IoT传感器
软件平台
NB-IoT地磁(埋入式)
TBS-N210
无线车辆检测器(表贴式)
TBS-N223
无线车辆检测器(表贴式)
TBS-223
独立式光电感烟火灾探测报警器
JTY-GD-TCN2010
独立式光电感烟火灾探测报警器
JTY-GD-TCN2010
无线手动报警按钮
TBS-150
无线火灾声光警报器
TBS-130
无线火灾声光警报器
TBS-N131
无线手动报警器
TBS-N150
无线火灾声光警报器
TBS-130
无线手动报警按钮
TBS-150
底座式无线感温报警器
TBS-140
底座式无线感温报警器
TBS-N140
无线远程压力采集终端
TBO-L1700
无线远程压力采集终端
TBO-N1700
无线远程液位采集终端
TBO-L1710
无线远程液位采集终端
TBO-N1710
无线智能消防栓监测终端
TBO-N1720
无线智能消防栓监测终端
TBO-L1720
组合式电气火灾监控探测器
TBS-500
UWB 信标
WTU-102
TurMass™ LAN 双通道网关
TLG-520
UWB网关
WTU-212
TurMass™ 室内物联网网关
TBG-600
UWB定位终端模块/工牌
WTU-301
智能断路器
TBS-510
用户信息传输装置
TBO-M1830-A
TurMass™ 室外物联网网关
TBG-610
无线智能药盒
MB-100
GNSS定位终端模块
WTU-322
TurMass™ LAN 数据传输终端
TLD-200
TurMass™ LAN 终端模组
TLM-1XX
LoRaWAN数传终端传输器
TBD-100
JTY-GD-TCN2010
独立式光电感烟火灾探测报警器
Cat.1地磁(埋入式)
TBS-N210
爱培智能药箱
MB-200
智能药盒
MB-100
TTL 物联网平台
TSMP-A120
TWP 智慧停车管理平台
TWPS-A100
TPI 智慧园区停车引导平台
TPIS-A100
THF 智慧用药健康管理平台
THFS-A100
TSF 智慧消防管理平台
TSFS-A100
人员计数监测雷达
WTR-812
用户信息传输装置
TBO-M1830-B
Cat.1 工业数传终端
TBD-110
微波雷达交通计数器
TBRVC310
LoRaWAN地磁
TBS-N210-L
不定位式水浸控制器
TBO-171-DT
LoRa无线防水门磁报警器
TBS-160S
LoRa 无线水浸传感器
TBS-170
LoRaWAN 室外物联网网关
TBG-531
LoRaWAN 室内物联网网关
TBG-540
TurMass™ 定位物联网网关
WTU-221
智能照明控制模块
TBO-1920-DT
智能远传冷水水表
TBO-1730-DT
智能断路器
TBO-1930-DT
数字电能表
TBO-1910-DT
二氧化碳浓度监测终端
TBO-1030-DT
挥发性有机化合物TVOC监测终端
TBO-1040-DT
光照温湿度监测终端
TBO-1020-DT
多要素环境监测终端
TBO-1010-DT
TurMass™低频段标准模组
TBM-400
TurMass™ 低频段大功率模组
TBM-400-P
TurMass™数字手持对讲机
TBW-100
TurMass™ 无线数字手持对讲机
TBW-110
TurMass™ 领夹式迷你数字对讲机
TBW-120
智能遥控车位锁
TBO-2000
组合式电气火灾探测器
TBS-500
无线防水门磁报警器
TBS-N160S
视觉读表终端
TBO-N1740
紧急报警按钮
TBS-N152
白云丝丝游九天,银杏片片漫校园。正是橙黄橘绿时,莫因火灾酿悲剧!
校园人员密集,用电用火场景多,一旦发生火灾,其造成的经济损失比盗窃高出几十倍。建国以来,在我国所有全日制高校中,未发生过火灾的寥寥无几,仅2022年记录在册的就有15起火灾!
2022 火灾事故
11月24日,合肥市金寨南路一商务学院女生宿舍发生火灾。
11月16日下午4时,四川成都市四川外国语大学成都学校女生宿舍楼发生火灾。
9月8日,天河区华南农业大学泰山区16栋1楼发生火灾。
7月1日,广西外国语学院的一食堂起火。
6月16日,凌晨桂林一高校电动自行车充电棚发生火灾。
6月4日18时,湖南财政经济学院一男生宿舍突发火灾。
5月18日上午,中国农业大学西区食堂着火。
5月江苏常州一高校5楼宿舍起火。
4月20日10时50分,中南大学材料科学与工程学院一实验室发生爆燃事故。
4月3日下午,广东中医大学城宿舍K栋 某宿舍突发起火。
3月16日,湖南某职业技术学院一男生宿舍发生火灾。
3月2日,清华大学紫荆公寓发生火灾。
3月,海南某大学的教师公寓楼一房间着火。
2月27日上午9时,贵阳市乌当区贵州师范学院女生宿舍突然起火。
2月19日下午,江西萍乡学院一女生宿舍突发火灾。
火灾救命神器



火灾事故回放
2023年11月20日下午14时34分,广州大学城某高校宿舍火灾事故
事故概况:生活区学生宿舍5栋某房间发生火情,现场人员接到监控中心呼叫后及时出警、处置得当,加上事件发生在学生上课期间,事故没有造成人员伤亡、财产损失较小。火调初步结论是:因为书籍覆盖在劣质接线板上,接线板发热导致着火。
系统响应:胜天国际科技双波长烟感设备在火灾发生初期快速本地化报警响应,并通过智慧消防平台向消防监控中心推送警情,平台详细记录了报警设备发生的时间、地点。


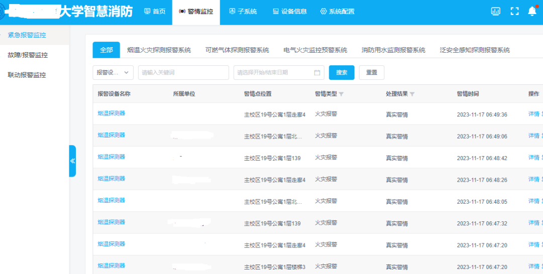
2023年11月17日早上6时47分,北京某著名高校宿舍发生火灾事故 事故概况:主校区19号公寓某房间发生火情,房间、楼道和楼梯间的无线烟感相继发出了火灾报警,保卫处防火科值班人员及楼管第一时间赶到现场,及时将火灾扑灭。火调初步结论是:因为学生的电暖脚毯温度过高起火。 系统响应:胜天国际科技双波长烟感设备在火灾第一时间报警响应,为宿舍学生赢得宝贵的逃生时间,平台报警后宿管人员第一时间到现场核实火情通知救火,避免了大范围的火灾损失。平台详细记录了报警设备发生的时间、地点。 胜天国际科技校园智慧消防方案 



